返回 行业资讯

天孚微电机专利:电动牙刷马达

    

天孚微电机发明专利介绍:

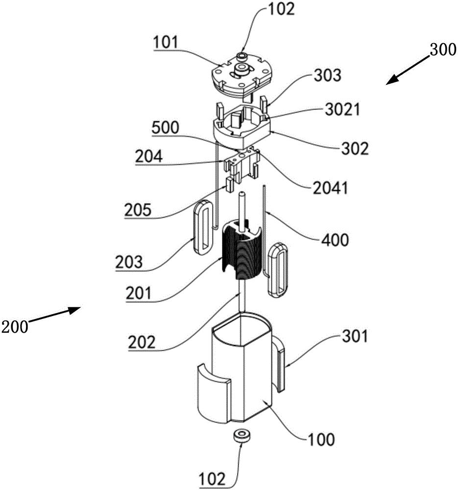
微电机拆解图

电动牙刷马达发明专利:本发明涉及一种电动牙刷马达和牙刷,包括:壳体、端盖、导线、转子组件和定子组件;

转子组件和定子组件通过端盖固定于壳体内;转子组件包括:绝缘件、转轴、线圈、第一定位胶件和第一磁钢片;

转轴的一端分别穿过绝缘件和第一定位胶件,从端盖上伸出,转轴的另一端从壳体的底部穿出;第一磁钢片卡设于第一定位胶件上;

线圈设置于绝缘件的限位槽内;

导线的一端与线圈相连,导线的另一端穿过第一定位胶件,从端盖上引出;

定子组件包括:磁瓦、第二定位胶件和第二磁钢片;磁瓦设置于绝缘体上;

第二磁钢片卡设于第二定位胶件内侧壁上。

采用本技术方案,不仅能提高反应速度和振动频率,延长使用寿命,而且结构简单,便于组装、拆卸和使用。



产品推荐:


TFF-YS21B-2760电动牙刷磁悬浮声波电机

上一页

健康知识讲座,强化安全教育

下一页

直流电机与交流电机的区别

东莞市天孚电机科技有限公司 版权所有